HG5反射式玻璃板液位計適用于直接指示各種塔、罐、槽、箱等容器內介質液位。在儀表上下閥門內裝有安全鋼球,當玻璃意外破損時,鋼球能在容器內壓力的作用下,自動關閉液流通道,以防止液位繼續外流。
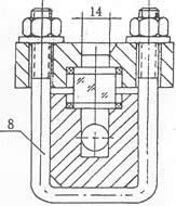
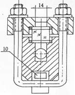
【 結構(gou)圖 】
![]() 反射式普通型 |
![]() |
安裝(zhuang)、使用與維(wei)護
1、為了保證自動密超過計劃作用,容器內的介質壓力不得小于0.2MPa,在打開上下閥時,閥桿退出轉數不少于4轉(使鋼球封門時,不致于碰到閥桿的頂端)。 2、使用中的儀表應定期檢查。清洗玻璃板內外壁污垢,使液位顯示清晰。 3、檢修裝配玻璃板在旋緊螺栓時,要密切注意玻璃板受力不均而破碎。因此,螺栓須嚴格按圖示1、2、3┈┈┈10、11、12順序交叉地分多次夾緊玻璃板。 |
【 液面計規定標(biao)記 】
名稱
|
型號
|
規格
|
標準號
|
備注(zhu)
|
液面計
|
BR40-Ⅰ,
BR40-Ⅱ, BR40-ⅠZ, BR40-ⅡZ, |
L=500、800、1100、1400、1700、2000
|
HG5-1366-80
|
①凸面法蘭(B)按HGJ47-91 DN20,PN4.0MPa
②工作壓力:4.0MPa |
液面計
|
BT64-Ⅰ,
BT64-Ⅱ, BT64-ⅠZ, BT64-ⅡZ, |
L=500、800、1100、1400、1700
|
HG5-1365-80
|
①凸面法蘭(B)按HGJ47-91 DN20,PN6.3MPa
②工作壓力:6.3MPa |
液面計(ji)
|
A(B)T25-Ⅰ,
A(B)T25-Ⅱ, A(B)T25-ⅠZ, A(B)T25-ⅡZ, |
L=500、800、1100、1400、1700、2000
|
HG5-1364-80
|
①突面法蘭(A)按HGJ46-91
②凸面法蘭(B)按HGJ47-91 DN20,PN2.5MPa ③工作壓力:2.5MPa |
液面計
|
R-Ⅰ
R-Ⅱ |
304
|
HG5-1370-80
|
|
液面計
|
R-Ⅲ
|
304
|
HG5-1369-80
|
|
液面(mian)計
|
R6-Ⅰ
R6-Ⅱ |
304
|
HG5-1368-80
|
|
液面計
|
R6-Ⅲ
|
304
|
HG5-1367-80
|
工(gong)作壓力:0.6MPa
|
【 液(ye)面計(ji)主要(yao)技(ji)術參數 】
蒸汽夾套接頭
|
G1/2"外螺紋
|
伴(ban)熱(re)蒸汽壓力
|
≤0.6MPa
|
液面計工作溫(wen)度
|
-20~+200℃
|
鋼球自動(dong)關閉壓(ya)力
|
≥0.2MPa
|
測量范圍(安裝中(zhong)心(xin)距L)
|
300、500、800、1100、1400、1700mm
|
反射式(shi)液(ye)面(mian)計工作(zuo)壓力
|
2.5、4.0、6.3MPa、0.6MPa(用于R型)
|
玻璃板液面計(ji)材質
|
碳鋼、不銹鋼
|
【 結(jie)構原理 】
HG5-1366-80反射式玻璃板液位計根據連通其原理,將容器內介質液位引至外部玻璃板液位計內,通過透明玻璃直接顯示容器內液位實際高度 儀表閥桿密封填料采用柔性石墨壓環,密封性能可靠。
【 特 點 】
● 玻璃板型使用安全、耐用。
● 反射式玻璃板型結構簡單、維修方便。
● 玻璃板型直讀式、讀數精確、可靠。
【 液位儀表簡介 】
浮球(qiu)(qiu)(qiu)液(ye)位儀(yi)表(biao)由(you)傳(chuan)感器(qi)和指示表(biao)兩部分組(zu)成。浮球(qiu)(qiu)(qiu)液(ye)位傳(chuan)感器(qi)由(you)裝有磁簧(huang)(huang)管(guan)的(de)(de)(de)不銹鋼護管(guan)和裝有磁鋼的(de)(de)(de)浮球(qiu)(qiu)(qiu)組(zu)成。浮球(qiu)(qiu)(qiu)液(ye)位傳(chuan)感器(qi)的(de)(de)(de)磁性(xing)浮球(qiu)(qiu)(qiu)隨著(zhu)容器(qi)內液(ye)體升(sheng)降而(er)上下移動,利用感應(ying)作(zuo)用使護管(guan)內的(de)(de)(de)磁簧(huang)(huang)管(guan)動作(zuo),從而(er)引起線(xian)性(xing)電阻的(de)(de)(de)阻值變(bian)化(hua),通過(guo)指示表(biao)指針(zhen)變(bian)化(hua)來反映液(ye)位變(bian)化(hua)。磁翻(fan)柱液(ye)位計,是根據浮力原理(li)和磁性(xing)耦合作(zuo)用原理(li)工作(zuo)的(de)(de)(de)。
版權所有 Copyright(©)2009-2011 江蘇力科儀表有限公司
電話號碼:0517-86909222 商務熱線:15305232668 傳真:0517-86909221
地址:江蘇省金湖縣工業園
技術支持(chi):