◇工作原理(li) |
LKUHZ磁性浮子液位計根據浮力和磁耦合原理,測量筒內磁性浮子隨被測液面的升高(降低)驅動測量筒外部顯示器上的雙色翻柱旋轉180℃顯示紅色(反向旋轉180℃顯示白色)實現了測量和顯示被測液面位置的目的。磁性浮子液位計也叫磁翻柱液位計或者磁翻板液位計,每個磁翻柱雙色軸向對稱結構,兩個磁翻柱間的間距為10mm或20mm,分別以白色和紅色來指示氣相部分和液相部分,也可選擇下部白色表示液體部分上部紅色表示氣體部分。紅色與白色交接處就是液相與氣相的分界處。該液位計也能用于兩種不同密度介質的界面測量。 |
◇產品特點 |
LKUHZ系列磁性浮子液位計的接液零部件材料采用321、316、316L、304、321襯PTFE(聚四氟乙烯)、PVC、PP等材料,運行穩定、可靠。產品特點十分顯著: 1.設計簡單、緊湊、堅固可靠、壽命長、免維護,能長年在戶外安裝使用; 2.測量管與液位顯示部分、液位發送器、報警開關在耐壓、耐氣上是完全隔離的; 3.工作壓力范圍寬,耐壓≤16MPa; 4.工作溫度范圍寬,普通型≤350℃、 遠傳型≤80℃、防腐型≤120℃ 5.廣泛用于強腐蝕性、易燃、易爆、有毒等液位測量; 6.各型號均可選配一個或數個保持ON/OFF報警開關,實現高低液位自動報警; 7.各型號均可選配4-20mA液位傳感器,實現遠距離集中測量與控制。 |
◇產品適用對象 |
LKUHZ系列磁性浮子液位計能廣泛用(yong)(yong)于石油、化(hua)工、油田、醫藥(yao)、食品、酒業(ye)等(deng)行業(ye)中各類(lei)貯(zhu)液(ye)罐、貯(zhu)槽、貯(zhu)液(ye)池、反應罐、發(fa)酵罐內(nei)液(ye)體、油品、液(ye)化(hua)氣(qi)、液(ye)氨、強酸堿(jian)液(ye)、發(fa)電廠鍋(guo)爐汽包(bao)、除氧器、疏水箱(xiang)(xiang)、回水箱(xiang)(xiang)、高(gao)低壓加熱器、凝(ning)結(jie)器、蒸發(fa)器以及其他壓力容(rong)器內(nei)與 321 、304、321+內(nei)襯(chen)(F46、F4、PTFE)、316、316L、PVC、PP相容(rong)液(ye)體介質的液(ye)位、液(ye)面(mian)及兩(liang)種(zhong)不同(tong)介質界面(mian)測量與顯示。有多種(zhong)安裝形(xing)式供用(yong)(yong)戶選擇,以適應不同(tong)場合(he)(he)、環境(jing)的要求。本安和(he)隔爆(bao)二種(zhong)形(xing)式的防(fang)爆(bao)類(lei)型(xing)可(ke)滿足(zu)不同(tong)使用(yong)(yong)場合(he)(he)的要求。 |
◇附(fu)加功能(neng)選擇(ze)項 |
為滿足不同場合和環境的需要可附加如下選項: 1.各型號均可選配無源自保持ON/OFF報警開關,實現高低液位自動控制或報警; 2.各型號均可選配4-20mA液位傳感器,實現遠距離集中測量與控制。 3.液位計底部排污閥,方便使用中排污。 |
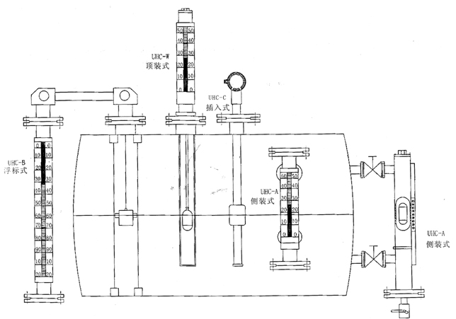
LKUHZ系列(lie)磁性浮子液位計的分(fen)類與命名 |
![]() |
LKUHZ磁性浮子液位計示意圖 |
![]() |
版權所有 Copyright(©)2009-2011 江蘇力科儀表有限公司
電話號碼:0517-86909222 商務熱線:15305232668 傳真:0517-86909221
地址:江蘇省金湖縣工業園
技(ji)術支持: